白荆回廊秩序囚笼烙痕图鉴
作者:佚名 来源:57自学网 时间:2024-03-31
订单笼品牌白荆回廊有什么用?订单笼品牌是“白荆回廊”中的一张品牌卡,那么订单笼品牌有什么作用,能够提供哪些品牌品质呢?那么漫游技能
订单笼品牌白荆回廊有什么用?订单笼品牌是“白荆回廊”中的一张品牌卡,那么订单笼品牌有什么作用,能够提供哪些品牌品质呢?那么漫游技能和品牌觉醒的加成和效果如何呢?接下来就让小编带着各位玩家来一睹为快吧。
1.品牌特点
2. 巡逻技巧
炎症输注
暴击
坚定意志:钻石A型
充电芯菱形A型
雪上加霜
伤害祝福钻石A型
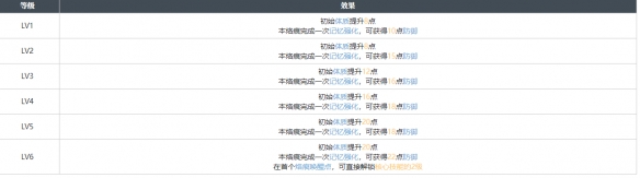
3、品牌觉醒
- 上一篇:崩坏星穹铁道纯美伊德莉拉及纯美骑士团介绍
- 下一篇:幻塔金核怎么获取
